6-suwowy silnik Porsche, to wielki ewolucyjny skok w mocy i kompresji
Silnik typu bokser w modelu Porsche 911 GTS jest od dawna uważany za cud współczesnej inżynierii, stanowiąc symbol dziedzictwa silników spalinowych. Jednakże aktualnie przemysł motoryzacyjny skłania się ku elektryfikacji, a to firmie Porsche ewidentnie nie jest w smak i dlatego też podjęła niespodziewany krok, aby spróbować tchnąć nowe życie w technologię, która jest uznawana przez wielu za niemożliwą do dalszego zrewolucjonizowania. Firma złożyła bowiem patent na nowy projekt silnika 6-suwowego, który może na nowo zdefiniować wydajność, moc i przyszłość silników spalinowych. Pozostaje więc pytanie – czym dokładnie jest ten nowy projekt i jak można go porównać do tradycyjnych silników 4-suwowych, które dziś znamy?
Czytaj też: Sprytny czy szalony? Nowy silnik producenta elektryków przekracza wszelkie granice

Zacznijmy od tego, że większość samochodów na świecie napędza aktualnie konwencjonalny silnik 4-suwowy, a więc jednostka, której praca w cyklu obejmuje ssanie, kompresję, rozprężanie i wydech, co odbywa się w cylindrze z udziałem tłoku i zaworu ssącego i dolotowego. W pierwszym suwie poruszający się tłok silnika generuje wewnątrz cylindra podciśnienie, które wyciąga z układu dolotowego mieszankę paliwowo-powietrzną, następnie tłok porusza się w przeciwną stronę, sprężając tę mieszankę, która następnie jest zapalana przez iskrę i generuje ogromne ciśnienie, wypychające tłok. Ten następnie ponownie się obniża, aby wyprowadzić z cylindra rozprężone gazy spalinowe i cykl ten nieustannie się powtarza.

Czytaj też: Tysiące satelitów nagle odpaliło silniki. Na orbicie natychmiast zrobiło się niebezpiecznie
Jak więc Porsche ulepszyło ten znany doskonale proces, dorzucając do niego dwa dodatkowe suwy? Inżynierowie firmy uznali, że idealnym sposobem na poprawę działania silników spalinowych będzie dorzucenie do nich drugiej fazy kompresji mieszanki paliwowo-powietrznej oraz dodatkową fazę pracy, co sprowadza działanie w każdym cylindrze silnika do: ssania, kompresji, pracy, kompresji, pracy oraz wydechu. Tego typu schemat ma nie tylko przełożyć się na większą uzyskiwaną moc, ale też zwiększenie ogólnej wydajności poprzez “wyciągnie” większej ilości mocy z tej samej ilości paliwa. Mowa o wzroście generowanej energii z około 30% do 45-50%, co może sprawić, że silniki 6-suwowe zrobią z modeli 4-suwowych to samo, co niegdyś 4-suwowe jednostki zrobiły z 2-suwowych.
Czytaj też: Ten silnik wodorowy bije wszelkie rekordy. Nadchodzi koniec ery pojazdów spalinowych?
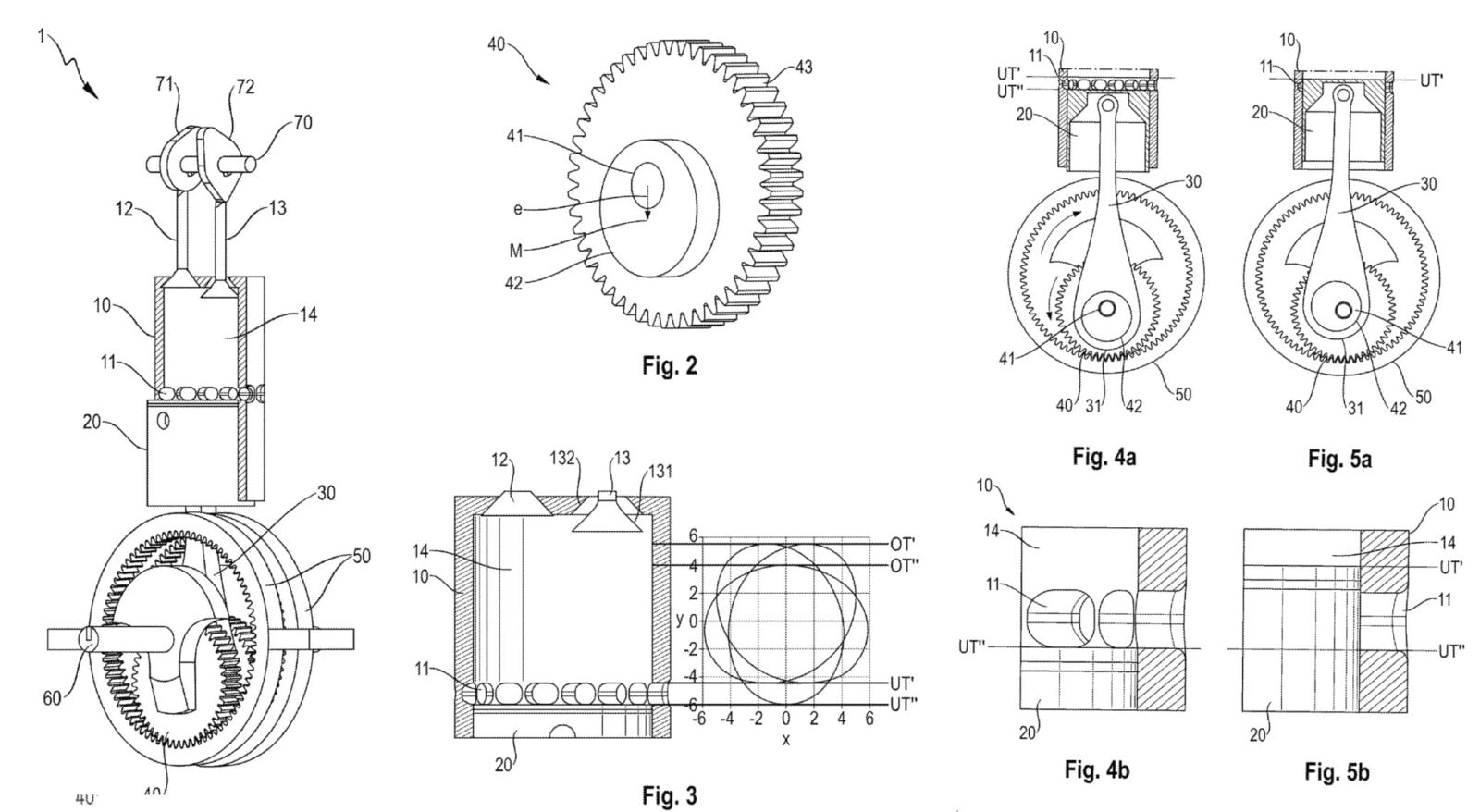
Tego typu praca silnika nie jest jednak prosta do osiągnięcia i dlatego też Porsche musiało postawić na unikalny mechanizm wału korbowego. Ten obraca się wewnątrz pierścienia na przekładniach planetarnych, co powoduje, że tłoki osiągają dwie różne pozycje górnego i dolnego martwego punktu. To rozwiązanie umożliwia zmienną kompresję w silniku, co nie występuje w tradycyjnych konstrukcjach 4-suwowych. Dzięki dynamicznej regulacji stopnia sprężania silnik może optymalizować swoje osiągi w zależności od warunków, takich jak obciążenie czy pozycja przepustnicy. Mówiąc prościej, silnik dostosowuje, ile powietrza i paliwa jest sprężane przed zapłonem, co pozwala na poprawę wydajności i mocy w zależności od warunków jazdy. Musimy jednak pamiętać, że ten pomysł nie jest całkowicie nowy, bo niejaki Samuel Griffin zaprojektował pierwszy silnik 6-suwowy już w 1883 roku, doczekał się wielu następców, ale technologia nigdy nie zyskała szerokiego uznania. Czas więc tylko pokaże, czy Porsche uda się przepchnąć te silniki do użytku masowego.
