Ciekawy pomysł Apple’a – zewnętrzna latarka do smartwatcha
Bardzo lubię przeglądać różne wnioski patentowe, które składają producenci sprzętów. Można tam znaleźć naprawdę ciekawe pomysły, choć w dużej mierze trudne do zrealizowania w komercyjnych produktach. Pokazują jednak, że jeśli chodzi o sprzęt, firmy sięgają znacznie dalej niż to, co wypuszczają na rynek. Nie brakuje tam projektów szalonych, ale też takich bardzo praktycznych. Nowo odkryty patent Apple’a zalicza się z pewnością do tej drugiej kategorii, bo chodzi o… zewnętrzną latarkę w formie dodatkowego modułu montowanego na pasku Apple Watch.
Czytaj też: iPhone SE 4 będzie bardzo przypominał flagowca i to nie tylko z zewnątrz
Jedną z wielu funkcji, jaką znajdziemy na pokładzie smartwatchy, jest funkcja latarki. Działa ona bardzo prosto – ekran urządzenia staje się całkowicie biały, co pozwala na uzyskanie potrzebnego źródła światła. W zależności od modelu i obsługiwanej maksymalnej jasności, będzie to mniej lub bardziej użyteczne. Jest to jednak przydatny dodatek i sama często korzystam z tej funkcji w swoim zegarku. Apple chce pójść o krok dalej i sprostać wymaganiom tych użytkowników, którzy potrzebują znacznie potężniejszego źródła światła.
Czytaj też: Meta w końcu spełnia swoje obietnice. Długo wyczekiwana funkcja trafia do Messengera
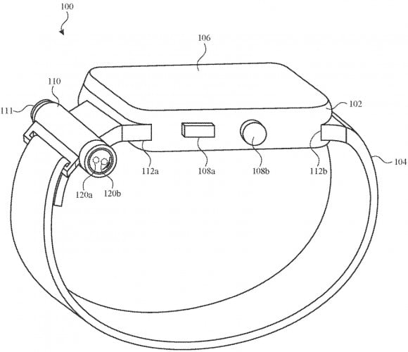
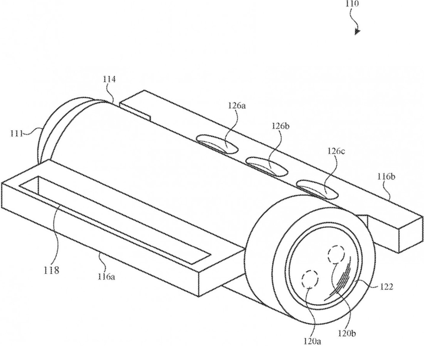
Zgodnie z przyznanym patentem, takie urządzenie nosi nazwę „Modular Light Assembly For A Wearable Device” i został „zaprojektowany do integracji z urządzeniami do noszenia”. Można go podłączyć zewnętrznie do obudowy smartwatcha i jego opaski. Poniższy schemat daje nam wyobrażenie tego, jak mogłoby to wyglądać. Jak widzicie, mamy tutaj cylindryczną latarkę umieszczoną na pasku. Od razu rzuca się w oczy fakt, że taka latarka będzie miała własne źródło zasilania, więc w żaden sposób nie wpłynie ona na baterię w Apple Watch. Będzie też miała własny przycisk wyłączania/włączania, zupełnie niezależny od zegarka.

Z dokumentacji wynika jednak, że pojawi się również opcja sterowania nią z poziomu Apple Watch, co również będzie przydatne. Zgodnie z patentem „opisane tu modułowe latarki mogą zawierać elementy odporne na ciecze, takie jak uszczelki lub pierścienie typu O-ring, które zapobiegają przedostawaniu się cieczy do wrażliwych elementów”. Odporność na wodę czy warunki atmosferyczne jest zupełnie zrozumiała.


Co ciekawe, na jednych szkicach widać, że urządzenie można odczepić od paska, ale są też opcje, w których latarka jest na stałe wszyta/przyklejona. W obu przypadkach Apple mógłby sprzedawać ją jako osobne akcesorium. I z jednej strony to dość dziwny pomysł, ale z drugiej – całkiem użyteczny. Jeśli gigant zdecyduje się na masową produkcję, spodziewam się, że będzie to dodatek przede wszystkim do Apple Watch Ultra. Ten smartwatch reklamowany jest jako zegarek do zadań specjalnych, sportów ekstremalnych czy pracy w ciężkich warunkach. Jego właścicielom taka zewnętrzna latarka mogłaby się bardzo przydać.
Czytaj też: Składane smartfony sprzedają się coraz lepiej. Samsung nadal na prowadzeniu, ale konkurencja nie śpi
Nie ma jednak pewności, czy Apple w ogóle zrealizuje ten pomysł. Z patentami już tak jest, że firmy rezerwują sobie jakiś pomysł, a później idzie on w odstawkę z różnych powodów. Czasem wykorzystywane są jedynie pewne elementy, czasem nic. Czy tak samo będzie i w tym przypadku? Czas pokaże.

